管束干燥機是我公司改進的一種新型、高效、節能的干燥設備,其各項技術經濟指標在同類產品中達到國際水平。
工作原理
管束干燥機的設計采用了熱傳導和熱輻射的原理,物料經供料螺旋進入干燥機內,在殼體內旋轉管束外圍鏟子的攪拌作用下與換熱管充分接觸,使其水分得到蒸發,同時推進鏟將物料由進料端輸送到出料端。干燥一般采用逆流加熱方式,根據需要也可采用順流加熱方式。
主要特點
1.管束干燥機能耗低,熱效率高;
2.管束干燥機可調性好,適用范圍廣;
3.易于安裝,操作簡單,維修方便;
4.作業環境清潔,噪聲小。
應用范圍
管束干燥機廣泛應用于輕工、化工、糧食、食品、飼料等行業,如酒槽、啤酒槽、化肥、玉米胚芽、玉米纖維、蛋白粉、菜籽餅、雞糞等粉狀、片狀、纖維狀無太大粘性的松散類物料的干燥。

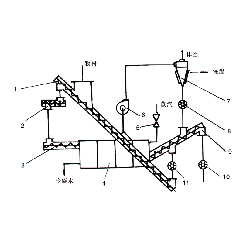
工藝流程

混料螺旋 2.輸送攪拌機 3. 供料螺旋 4. 干燥機 5.調節閥 6. 風機 7. 除塵器 8.關風機 9. 卸料螺旋 10. 關風機 11. 關風機
技術參數








